Brevetto AT&T per sorvegliare e hackerare il tuo cervello attraverso il proprio cellulare. Controllo mentale wireless “Politiche di routing per ospiti biologici”
Il brevetto è già operativo su ogni membro della specie umana che in buona fede ha confidato nella “scienza impartita da dei pazzi psicopatici” che da un momento all’altro a comando possono indurre al suicidio e uccidere a distanza.
Questo è il brevetto e questo è quello che hanno rilevato le analisi svolte da ricercatori indipendenti svinconato da ogni conflitto di interessi e questi sono i fatti che ognuno di voi può e deve verificare e valutare in prima persona prima che sia troppo tardi.
Ora sapete contro chi dovete pianificare un conflitto prima che siano loro a prendere questa decisione.
Più di questo noi non possiamo fare!
Toba60
Siamo tra i più ricercati portali al mondo nel settore del giornalismo investigativo capillare ed affidabile e rischiamo la vita per quello che facciamo, ognuno di voi può verificare in prima persona ogni suo contenuto consultando i molti allegati (E tanto altro!) Abbiamo oltre 200 paesi da tutto il mondo che ci seguono, la nostre sedi sono in Italia ed in Argentina, fate in modo che possiamo lavorare con tranquillità attraverso un supporto economico che ci dia la possibilità di poter proseguire in quello che è un progetto il quale mira ad un mondo migliore!
Brevetto AT&T per sorvegliare e hackerare il tuo cervello attraverso il proprio cellulare

In questo post, esamino questo brevetto AT&T del 2018 che tratta della sorveglianza wireless dell’attività cerebrale e della trasmissione dei pensieri e delle funzioni cerebrali dal cellulare al cervello. Il cervello umano viene definito Neurological Area Network (rete neurologica), dalla quale vengono monitorati i segnali neurologici del cervello.
Da tempo metto in guardia sui cellulari come dispositivi di sorveglianza e sistemi d’arma. Nell’articolo qui sotto ho descritto la mia esperienza di aver chiesto a un esperto di sicurezza informatica dei servizi segreti di controllare il mio ambiente per motivi di sicurezza dopo aver sviluppato i sintomi dell’Havanna. I risultati sono stati illuminanti e la pulizia del mio ambiente, compresa l’eliminazione del mio smartphone, ha fermato tutti questi sintomi. Questo, a mio avviso, è stato uno dei substack più importanti che ho condiviso nell’ambito dell’autodifesa dalle armi SMART:
L’abstract del brevetto recita:
Metodi, sistemi e prodotti forniscono interfacce tra reti intrahost e reti interhost all’interno di ospiti biologici. Le traduzioni neuroregionali vengono eseguite per instradare le comunicazioni da e verso gli ospiti biologici. Le traduzioni bioregionali possono anche essere eseguite per instradare le comunicazioni da e verso gli ospiti biologici.

Le pubblicazioni di riferimento elencate riguardano il controllo mentale wireless e le interfacce cervello-macchina.
Le, Tan, Una cuffia che legge le onde cerebrali, TEDGlobal, luglio 2010, 8 pagine.
Lebedev et al., “Interfaccia cervello-macchina: passato, presente e futuro,” ScienceDirect, Trends in Neurosciences, vol. 29 n. 9, 21 luglio 2006, 11 pagine.
Fields, R. Douglas, “Mind Control by Cell Phone,” Scientific American, 7 maggio 2008, 8 pagine.
Kim, Gookhwa, et al., “Neurostimolatore wireless basato su ZigBee per migliorare il recupero dopo un ictus”, Experimental Neurobiology, vol. 19, pagg. 165-172, dicembre 2010.
Yong, Ed, “Il controllo mentale diventa wireless,” Not Exactly RocketScience, 27 giugno 2011, 4 pagine.

Sia i segnali biologici provenienti dalla rete corporea che quelli provenienti dalle onde cerebrali vengono monitorati. Da cosa sono costituite queste reti? Dai nano e microrobot e dalle tecnologie presenti nel sangue che ho mostrato, che utilizzano il sangue umano come batteria e rendono le persone vaccinate. Con questa tecnologia non è nemmeno necessario: le onde cerebrali e il sistema elettrico cardiaco emettono un segnale di frequenza che può essere decodificato e inviato alla rete e instradato a un’altra persona.
Tradotto, ciò significa che i vostri pensieri vengono letti e possono essere inviati a qualcun altro tramite un telefono cellulare. Se lo si utilizza come arma, qualsiasi avversario può inviare i propri pensieri al vostro cervello. Che ne direste se qualcuno vi inviasse messaggi per indurvi a suicidarvi? Si tratta di un assassinio a distanza, descritto dal dottor Robert Duncan, insider della CIA e della DARPA, come un programma di assassinio da parte dei servizi segreti: è così che le persone vengono indotte al suicidio, uccise a distanza.
Progetto Soul Catcher del dottor Robert Duncan – Capacità della CIA di hackerare la mente e l’anima
Ecco come funziona:

La stessa cosa può essere fatta con i segnali biologici. Il controllo motorio del corpo, la frequenza cardiaca, la respirazione: tutto questo può essere hackerato a distanza da un cellulare.

I pensieri vengono memorizzati insieme all’identità e associati a specifiche regioni del cervello. Si tratta della POLIZIA DEL PENSIERO DEL GRANDE FRATELLO. Ora puoi essere punito per aver pensato contro il sistema e il tuo operatore di telefonia mobile locale è l’apparato di polizia.

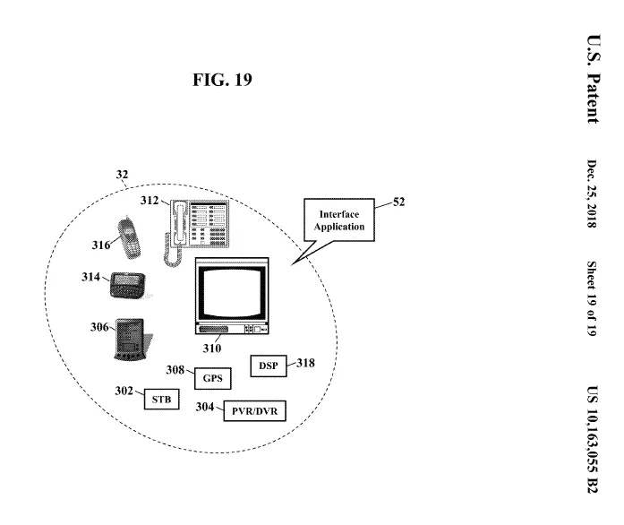
L’interfaccia di sorveglianza è costituita da telefoni, monitor e altri dispositivi.

La tecnologia stessa è descritta come utilizzabile sia per gli esseri umani che per gli animali. Non conosco molti animali che possiedono un cellulare della AT&T, ma il punto è che la sorveglianza di tutti i sistemi viventi è possibile e auspicabile. Dopotutto, Noah Yuval Harari, portavoce del WEF, considera gli esseri umani “animali hackerabili” e i tecnocrati hanno previsto che, per un’intelligenza artificiale super intelligente, gli esseri umani sarebbero visti come animali domestici usa e getta.
Vi ho mostrato la conversazione su ChatGPT che illustra chiaramente questo piano: prima la sorveglianza, poi il transumanesimo, poi lo sterminio. Ricordate che qualsiasi cosa in grado di leggere i vostri dati biometrici tramite emissione di frequenze può anche inviare e modificare tali dati, il che significa che può essere utilizzata come arma da qualsiasi mente diabolica. Tutte le comode tecnologie intelligenti hanno un DOPPIO SCOPO: possono essere utilizzate per rendervi dipendenti dalla vostra comodità e come arma per controllarvi o eliminarvi.
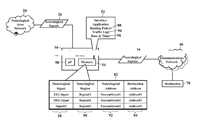
FIG. 1 è uno schema semplificato che illustra un ambiente in cui possono essere implementate alcune realizzazioni esemplificative. FIG. 1 illustra una rete neurologica locale 20 e una rete corporea locale 22 di un ospite biologico 24. L’ospite biologico 24 è illustrato come una donna umana 26, ma 45 l’ospite biologico 24 può essere qualsiasi animale o altro organismo vivente. Qualunque sia l’ospite biologico 24, la scienza ha dimostrato che i segnali elettrici vengono trasmessi in tutto il cervello e il corpo. I neuroscienziati, ad esempio, hanno dimostrato che i segnali neurologici 28 vengono trasmessi lungo il neuroni.
50 rete logica locale 20 nel cervello. La scienza medica ha anche dimostrato che i segnali biologici 30 vengono trasmessi in tutto il corpo dell’ospite biologico 24. I segnali biologici 30, ad esempio, vengono trasmessi tra i tessuti, le cellule, gli organi e il sistema nervoso dell’ospite biologico 24.
Si prega di notare che le realizzazioni dispongono di funzionalità wireless e/o Bluetooth. Si ricorda che le persone vaccinate emettono un indirizzo MAC rilevabile dagli scanner Bluetooth.
Espressione transgenica controllata dalla mente tramite un impianto cellulare optogenetico progettato alimentato in modalità wireless (In Inglese)
Mind-controlled-transgene-expression-by-a-wireless-powered-optogenetic-designer-cell-implant-Folcher-Marc-Oesterle-Sabine-Zwicky-etc.-Z-LibrarySe non avete visto la mia intervista con il dottor Pedro Chavez, protagonista del documentario Blutruth, che mostra come i vaccinati emettano indirizzi MAC anche dalle loro tombe:
Le realizzazioni esemplificative possono essere applicate indipendentemente dall’ambiente di rete. Come menzionato nei paragrafi precedenti, la rete di comunicazione 40 può essere una rete wireless con funzionalità cellulare, WI-FI® e/o BLUETOOTH®.
Mi fermo qui. Potete continuare a leggere da soli. Sbarazzatevi del vostro cellulare. Acquistate invece qualcosa come un Nokia tracfone, dal quale è possibile rimuovere la batteria al litio. Solo rimuovendo la batteria è possibile impedire il tracciamento. Potete vivere senza uno smartphone, ma potreste non sopravvivere a questa guerra mantenendo intatta la vostra anima. Sbarazzatevi dei vostri dispositivi smart. Ognuno di essi può alterarvi e hackerarvi. Questi dati vengono monitorati proprio dai sistemi di intelligenza artificiale che hanno annunciato di voler sterminare l’umanità. Vi dicono quali sono i loro piani, hanno inserito l’infrastruttura per questo piano nell’umanità, è nei documenti governativi. Di quante prove hanno bisogno le persone prima di crederci e agire?
Sei disposto a morire per quegli sciocchi che ti dicono che la nanotecnologia autoassemblante e il transumanesimo tecnocratico non sono reali?
Ana Maria Mihalcea
Fonte: substack.com/@anamihalceamdphd & DeepWeb
SOSTIENICI TRAMITE BONIFICO:
IBAN: IT19B0306967684510332613282
INTESTATO A: Marco Stella (Toba60)
SWIFT: BCITITMM
CAUSALE: DONAZIONE




